de
en
Schliessen
Detailsuche
Bibliotheken
Projekt
Impressum
Datenschutz
Detailsuche
Schnellsuche:
OK
Titel
Titel
Inhalt
Inhalt
Seite
Seite
Im Dokument suchen
Dynamische Ansteuerungen gebäudetechnischer Brandschutzeinrichtungen
Anhang A
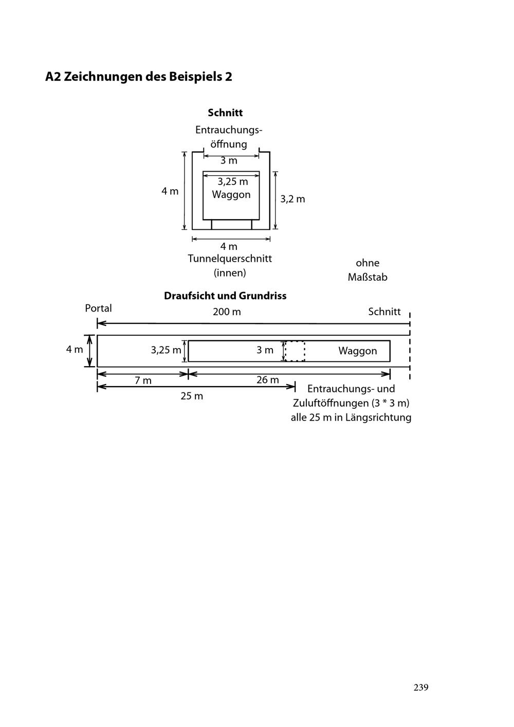
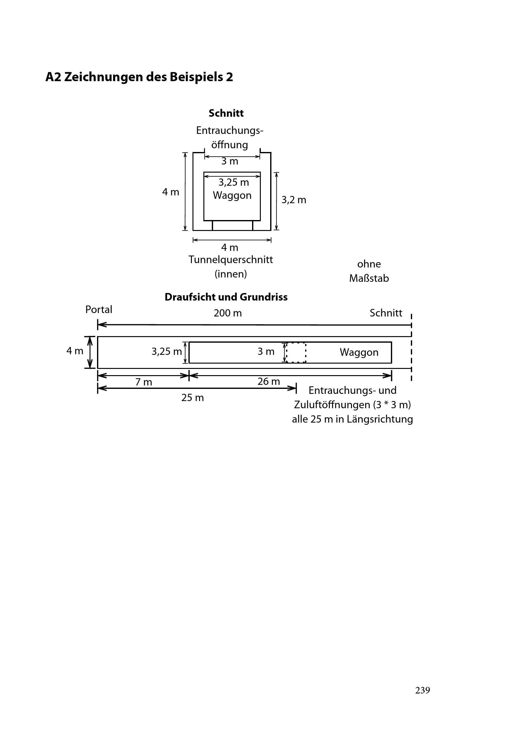
A2 Zeichnungen des Beispiels 2
Wird geladen ...
Dissertation
Dynamische Ansteuerungen gebäudetechnischer Brandschutzeinrichtungen : ein Konzept zur sicherheitstechnischen Quantifizierung / vorgelegt von Eugen Nachtigall
Entstehung
2013
JPEG-Download
verfügbare Breiten
JPEG groß
JPEG original
Seiten an
Seiten aus